

gaoshengkeji@163.com

Delta德爾塔儀器小編與2018年1月24日工信部網站獲悉,工信部發布關于征求《電動汽車安全要求》等3項強制性國家標準(征求意見稿)意見的通知。通知指出,為加強新能源汽車行業管理,提高新能源汽車安全要求,完善新能源汽車標準體系,促進新能源汽車產業發展,工業和信息化部裝備工業司組織行業機構、重點企業等單位研究編制了《電動汽車安全要求(征求意見稿)》《電動汽車用鋰離子動力蓄電池安全要求(征求意見稿)》《電動客車安全要求(征求意見稿)》,現公開征求社會各界意見。

其中,《電動汽車用鋰離子動力蓄電池安全要求(征求意見稿)》如下:
前??言
本標準按照GB/T 1.1-2009給出的規則起草。
本標準由中華人民共和國工業和信息化部提出。
本標準由全國汽車標準化技術委員會(SAC/TC 114)歸口。
本標準負責起草單位:
本標準參加起草單位:
本標準主要起草人:
引言
本引言旨在介紹本標準的要求所依據的原則,理解這些原則對電動汽車用鋰離子電池單體、電池包或系統的設計和應用是很有必要的。需要注意的是本標準僅考慮電動汽車用鋰離子電池單體、電池包或系統最基本的安全要求以提供對人身的安全保護,不涉及生產和運輸安全,也不涉及性能和功能特性。
隨著技術和工藝的進一步發展必然會要求進一步修訂本標準。
在本標準范圍內電動汽車用鋰離子電池單體、電池包或系統導致的危險是指:
——泄漏,可能導致高壓安全、絕緣失效間接造成電擊、起火等危險;
——起火,直接燒傷人體;
——爆炸,直接危害人體;
——電擊,由于電流流過人體而引起的傷害。
在確定電動汽車用鋰離子電池單體、電池包或系統采用何種設計方案時,需遵守以下的優先次序:
——首先,如有可能,優先選擇安全性高的材料,盡量避免使用容易出現絕緣失效、熱失控或燃燒起火的材料;
——其次,如果無法實行以上原則,那么需制定保護措施,減少或消除危險發生的可能性。
上述原則不能代替本標準的詳細要求,只是讓設計者了解這些要求所依據的原則。
電動汽車用鋰離子電池單體、電池包或系統的安全性與其材料選擇、設計及使用條件有關。其中使用條件包含了正常使用條件、可預見的誤用條件和可預見的故障條件,還包括影響其安全的環境條件諸如溫度、海拔等因素。
電動汽車用鋰離子動力蓄電池安全要求
1 范圍
本標準規定了電動汽車用鋰離子動力蓄電池(以下簡稱鋰離子電池)單體、電池包或系統的安全要求和試驗方法。
本標準適用于裝載在電動汽車上的鋰離子電池單體、電池包或系統,鎳氫電池單體、電池包或系統等可參照執行。
2 規范性引用文件
下列文件對于本文件的應用是必不可少的。凡是注日期的引用文件,僅所注日期的版本適用于本文件。凡是不注日期的引用文件,其最新版本(包括所有的修改單)適用于本文件。
GB/T 2423.4 電工電子產品環境試驗 第2部分:試驗方法 試驗Db 交變濕熱(12h+12h循環)
GB/T 2423.17 電工電子產品環境試驗 第2部分: 試驗方法 試驗Ka:鹽霧
GB/T 2423.43 電工電子產品環境試驗 第2部分:試驗方法 振動、沖擊和類似動力學試驗樣品的安裝
GB/T 2423.56 電工電子產品環境試驗 第2部分:試驗方法 試驗Fh:寬帶隨機振動(數字控制)和導則
GB/T 3730.1-2001 汽車和掛車類型的術語和定義
GB/T 4208-2017 外殼防護等級(IP代碼)
GB/T 19596-2017 電動汽車術語
GB/T 28046.1-2011 道路車輛 電氣及電子設備的環境條件和試驗 第1部分:一般規定
GB/T 28046.3 道路車輛 電氣及電子設備的環境條件和試驗 第3部分:機械負荷
GB/T 28046.4 道路車輛 電氣及電子設備的環境條件和試驗 第4部分:氣候負荷
3 術語與定義
GB/T 3730.1-2001、GB/T 19596-2017界定的以及下列術語和定義適用于本文件。
3.1
鋰離子電池單體 lithium-ion cell
利用鋰離子作為導電離子,在陽極和陰極之間移動,將化學能與電能進行相互轉換的基本單元裝置,通常包括電極、隔膜、電解質、外殼和端子,并被設計成可充電。
3.2
鋰離子電池模塊 lithium-ion battery module
將一個以上鋰離子電池單體按照串聯、并聯或串并聯方式組合,并作為電源使用的組合體。也稱作鋰離子電池組。
3.3
鋰離子電池包 lithium-ion battery pack
通常包括鋰離子電池單體、鋰離子電池管理系統、鋰離子電池箱及相應附件(冷卻部件、連接線纜等),具有從外部獲得電能并可對外輸出電能的單元。
3.4
鋰離子電池系統 lithium-ion battery system
一個或一個以上的鋰離子電池包及相應附件(管理系統、高壓電路、低壓電路、熱管理設備及機械總成等)構成的能量存儲裝置。
3.5
鋰離子電池電子部件 lithium-ion battery electronics
采集或者同時監測鋰離子電池包電和熱數據的電子裝置,必要時可以包括用于電池單體均衡的電子部件。
注:電池電子部件可以包括單體控制器。電池單體間的均衡可以由電池電子部件控制,或者通過電池控制單元控制。
3.6
電池控制單元 Battery Control Unit; BCU
控制、管理、檢測或計算電池系統的電和熱相關的參數,并提供電池系統和其他車輛控制器通訊的電子裝置。
3.7
額定容量 rated capacity
以制造商規定的條件測得的并由制造商標明的電池單體、模塊、電池包或系統的容量值。
注:額定容量通常用安時(Ah)或毫安時(mAh)來表示。
3.8
可用容量 available capacity
以制造商規定的條件,從完全充電的電池單體、模塊、電池包或系統中釋放的容量值。
3.9
荷電狀態 State-of-charge; SOC
當前電池單體、模塊、電池包或系統中按照制造商規定的放電條件可以釋放的容量占可用容量的百分比。
3.10
爆炸 explosion
電池單體、模塊、電池包或系統外殼猛烈破裂,并且有主要組成部分(固體物質)從非泄氣口拋射出來。
3.11
起火 fire
電池單體、模塊、電池包或系統任何部位發生持續燃燒(火焰持續時間大于1s)?;鸹袄〔粚儆谌紵?。
注:火焰持續時間大于1s是指單次火焰持續時間,而非多次火焰的累計時間。
3.12
泄氣 venting
電池單體、模塊、電池包或系統內部壓力增加時,氣體通過預先設計好的方式釋放出來,以防止破裂或爆炸。
3.13
外殼破裂 housing crack
由于內部或外部因素引起電池單體、模塊、電池包或系統外殼的機械損傷,導致內部物質暴露或溢出。
3.14
泄漏 leakage
液體從電池單體、模塊、電池包或系統中漏出。
注:以測試對象外部可見為準。
3.15
乘用車 passenger car
在其設計和技術特性上主要用于載運乘客及其隨身行李和/或臨時物品的汽車,包括駕駛員座位在內最多不超過9個座位。它也可以牽引一輛掛車。
3.16
商用車 commercial vehicle
在設計和技術特性上用于運送人員和貨物的汽車,并且可以牽引掛車。
乘用車不包括在內。
3.17
熱失控 thermal runaway
電池單體放熱連鎖反應引起的電池自溫升速率急劇變化的過熱、起火、爆炸現象。
3.18
熱擴散 thermal propagation
電池包或系統內由電池單體熱失控引發的其余電池單體接連發生溫度上升的現象。
3.19
充電終止電壓 end-of-charge voltage
電池單體、模塊、電池包或系統正常充電時允許達到的最高電壓。
3.20
放電終止電壓 end-of-discharge voltage
電池單體、模塊、電池包或系統正常放電時允許達到的最低電壓。
4 符號和縮略語
下列符號和縮略語適用于本文件。
I1:1 h率放電電流(A),其數值等于1 h額定容量值。
I3:3 h率放電電流(A),其數值等于1 h額定容量值的1/3。
5 安全要求
5.1 鋰離子電池單體安全要求
5.1.1
鋰離子電池單體按8.1.2進行過放電試驗時,應不起火、不爆炸。
5.1.2 鋰離子電池單體按8.1.3進行過充電試驗時,應不起火、不爆炸。
5.1.3 鋰離子電池單體按8.1.4進行短路試驗時,應不起火、不爆炸。
5.1.4 鋰離子電池單體按8.1.5進行加熱試驗時,應不起火、不爆炸。
5.1.5 鋰離子電池單體按8.1.6進行溫度循環試驗時,應不起火、不爆炸。
5.1.6
鋰離子電池單體按8.1.7進行擠壓試驗時,應不起火、不爆炸。
5.2 鋰離子電池包或系統安全要求
5.2.1 鋰離子電池包或系統按8.2.1.1進行振動試驗,應滿足最小監控單元無電壓銳變(電壓差的絕對值不大于0.15 V);無泄漏、外殼破裂、起火或爆炸現象;試驗后的絕緣電阻值不小于100 Ω/V。
5.2.2 鋰離子電池包或系統電子裝置按照8.2.1.2進行振動試驗,應連接可靠,結構完好,無裝機松動,且試驗后狀態參數測量準確度滿足表1要求。
5.2.3 鋰離子電池包或系統按照8.2.2進行機械沖擊試驗,應無泄漏、外殼破裂、起火或爆炸現象。試驗后的絕緣電阻值不小于100 Ω/V。
5.2.4 鋰離子電池包或系統按照8.2.3進行模擬碰撞試驗,應無泄漏、外殼破裂、起火或爆炸現象。試驗后的絕緣電阻值不小于100 Ω/V。
5.2.5 鋰離子電池包或系統按照8.2.4進行擠壓試驗,應無起火、爆炸現象。
5.2.6 鋰離子電池包或系統按照8.2.5進行濕熱循環試驗,應無泄漏、外殼破裂、起火或爆炸現象。試驗后30 min之內的絕緣電阻值不小于100 Ω/V。
5.2.7 鋰離子電池包或系統按照8.2.6進行浸水安全試驗。
按方式一進行,應無起火或爆炸現象;
按方式二進行,試驗后的絕緣電阻值不小于100 Ω/V。電池包各電路接插件及箱體內部均應無水浸入。
5.2.8 鋰離子電池包或系統按照8.2.7進行熱穩定性試驗,外部火燒試驗應無爆炸現象。
5.2.9 鋰離子電池包或系統按照8.2.8進行溫度沖擊試驗,應無泄漏、外殼破裂、起火或爆炸現象。試驗后的絕緣電阻值不小于100 Ω/V。
5.2.10 鋰離子電池包或系統按照8.2.9進行鹽霧試驗,應無泄漏、外殼破裂、起火或爆炸現象。
5.2.11 鋰離子電池包或系統按照8.2.10進行高海拔試驗,應無放電電流銳變、電壓異常、泄漏、外殼破裂、起火或爆炸現象。試驗后的絕緣電阻值不小于100 Ω/V。
5.2.12 鋰離子電池系統按照8. 2.11進行過溫保護試驗,應
無泄漏、外殼破裂、起火或爆炸現象。試驗后的絕緣電阻值不小于100 Ω/V。
5.2.13 鋰離子電池系統按照8. 2.12進行過流保護試驗,應無泄漏、外殼破裂、起火或爆炸現象。試驗后的絕緣電阻值不小于100 Ω/V。
5.2.14 鋰離子電池系統按照8. 2.13進行外部短路保護試驗,應無泄漏、外殼破裂、起火或爆炸現象。試驗后的絕緣電阻值不小于100 Ω/V。
5.2.15 鋰離子電池系統按照8. 2.14進行過充電保護試驗,應無泄漏、外殼破裂、起火或爆炸現象。試驗后的絕緣電阻值不小于100 Ω/V。
5.2.16 鋰離子電池系統按照8. 2.15進行過放電保護試驗,應無泄漏、外殼破裂、起火或爆炸現象。試驗后的絕緣電阻值不小于100 Ω/V。
6 試驗條件
6.1 一般條件
6.1.1
除非另有規定,試驗環境溫度為25℃±5℃,相對濕度為15~90%,大氣壓力為86 kPa~106 kPa。本標準所提到的室溫,是指25℃±2℃。
6.1.2
8.1條的試驗對象為鋰離子電池單體,若制造商無法提供可單獨工作的鋰離子電池單體,可采用鋰離子電池模塊來進行試驗,安全要求仍按照5.1條執行。
6.1.3 對于由車體包覆并構成電池包箱體的,應帶箱體或車體測試。
6.1.4
鋰離子電池包或系統交付時需要包括必要的操作文件,以及和測試設備相連所需的接口部件,如連接器,插頭,包括冷卻系統接口,鋰離子電池包或系統的典型結構參見附錄A。制造商需要提供鋰離子電池包或系統的安全工作限值,以保證整個測試過程的安全。
6.1.5
鋰離子電池包或系統在所有測試前進行絕緣電阻測試。測試位置為:正極和外殼,負極和外殼。要求絕緣電阻不小于100 ?/V。具體測試方法見附錄B。
6.1.6
當測試的目標環境溫度改變時,在進行測試前測試對象需要完成環境適應過程:在低溫下靜置不少于24 h;在高溫下靜置不少于16 h。
6.1.7
如果鋰離子電池包或系統由于某些原因(如尺寸或重量)不適合進行某些測試,那么供需雙方協商一致后可以用鋰離子電池包或系統的子系統代替作為測試對象,進行全部或部分測試,但是作為測試對象的子系統應該包含和整車要求相關的所有部分。
6.1.8
調整SOC至實驗目標值n%的方法;按制造商提供的充電方式將鋰離子電池包或系統充滿電,靜置1 h,以1 I1恒流放電(100-n)/100 h。每次SOC調整后,在新的測試開始前測試對象需要靜置30 min。
6.1.9
測試過程中的放電倍率大小按照標準的規定執行,充電方法和放電截止條件由制造商提供。
6.1.10 鋰離子電池單體、電池包或系統的額定容量對于測試過程具有重要影響。鋰離子電池單體、電池包或系統的實際可用容量與額定容量之差的絕對值不得超過額定容量的5%。
6.1.11
除有特殊規定,測試對象均以制造商規定的滿電狀態進行測試。
6.1.12
鋰離子電池單體、電池包或系統放電電流符號為正,充電電流符號為負。
6.2 測量儀器、儀表準確度
測量儀器、儀表準確度應滿足以下要求:
a) 電壓測量裝置:不低于0.5級;
b) 電流測量裝置:不低于0.5級;
c) 溫度測量裝置:±0.5℃;
d) 時間測量裝置:±0.1%;
e) 尺寸測量裝置:±0.1%;
f) 質量測量裝置:±0.1%。
6.3 測試過程誤差
控制值(實際值)與目標值之間的誤差要求如下:
a) 電壓:±1%;
b) 電流:±1%;
c) 溫度:±2℃。
6.4 數據記錄與記錄間隔
除非在某些具體測試項目中另有說明,否則測試數據的記錄間隔需小于等于1 Hz,如時間、溫度、電流和電壓等。
7 試驗準備
7.1 鋰離子電池單體試驗準備
7.1.1 鋰離子電池單體標準充電
7.1.1.1
室溫下,鋰離子電池單體先以1 I1電流放電至制造商技術條件中規定的放電終止電壓,擱置1 h(或制造商提供的不大于1 h的擱置時間),然后按制造商提供的充電方法進行充電。
7.1.1.2 若制造商未提供充電方法,則依據以下方法充電:
以1 I1或制造商規定且不小于I3電流恒流充電至鋰離子電池單體達制造商技術條件中規定的充電終止電壓時轉恒壓充電,至充電電流降至0.05 I1時停止充電,充電后擱置1 h(或制造商提供的不高于1 h的擱置時間)。
7.1.2 鋰離子電池單體預處理測試
7.1.2.1 正式測試開始前,鋰離子電池單體需要先進行預處理循環,以確保試驗對象的性能處于激活和穩定的狀態。預處理循環在室溫下進行,其步驟如下:
a) 按照7.1.1對鋰離子電池單體進行標準充電;
b) 靜置30 min或制造商規定時間;
c) 以1 I1電流放電至制造商技術條件中規定的放電終止電壓;
d) 靜置30 min或制造商規定時間;
e) 重復步驟a)~d)5次。
7.1.2.2 如果鋰離子電池單體連續兩次的放電容量變化不高于額定容量的3%,則認為鋰離子電池單體完成了預處理,預處理循環可以中止。
7.2 鋰離子電池包或系統試驗準備
7.2.1 狀態參數測量準確度
7.2.1.1 正式開始測試前,應先進行鋰離子電池包或系統的電子部件或BCU的狀態參數測量準確度試驗,以確保測試時參數的準確性。
7.2.1.2 鋰離子電池包或系統的電子部件或BCU的狀態參數測量準確度應滿足表1的要求。
表1 狀態參數測量準確度要求
參數 | 總電壓值 | 溫度值 | 分電壓值 |
準確度要求 | ≤±2% FS | ≤±2℃ | ≤±0.5% FS |
7.2.2 預處理測試
7.2.2.1 正式測試開始前,鋰離子電池包或系統需要先進行預處理循環,以確保測試時試驗對象的性能處于激活和穩定的狀態。預處理循環在室溫下進行,其步驟如下:
a) 以1 I1或按照制造商推薦的充電方法充電至制造商規定的充電截止條件;
b) 靜置30 min或制造商規定的時間;
c) 使用1 I1或按照制造商推薦的放電方法放電至制造商規定的放電截止條件;
d) 靜置30 min或制造商規定的時間;
e) 重復步驟a)~d)5次。
7.2.2.2 如果鋰離子電池包或系統連續兩次的放電容量變化不高于額定容量的3%,則認為鋰離子電池包或系統完成了預處理,預處理循環可以中止。
7.2.2.3 除非在某些具體測試項目中另有說明,否則如果標準循環和一個新的測試項目之間時間間隔大于24 h,則需要重新進行一次標準充電:使用1 I1充電至制造商規定的充電截止條件或按照制造商推薦的充電方法充電,靜置30 min。
8 試驗方法
8.1 鋰離子電池單體安全性試驗方法
8.1.1 一般要求
所有安全試驗均在有充分安全保護的環境條件下進行。如果測試對象有附加主動保護線路或裝置,應除去。
8.1.2 過放電
8.1.2.1 測試對象為鋰離子電池單體。
8.1.2.2 測試對象按7.1.1方法充電后。
8.1.2.3 以1 I1電流放電90 min。
8.1.2.4 試驗結束后,應在試驗環境溫度下觀察1 h。
8.1.3 過充電
8.1.3.1 測試對象為鋰離子電池單體。
8.1.3.2 測試對象按7.1.1方法充電后。
8.1.3.3 以1 I1或制造商規定且不小于I3 的電流恒流充電至制造商規定的充電終止電壓的1.2倍或120% SOC后,停止充電。
注:針對過充電截止條件,目前尚存在較大分歧,另一備選方案是“以1 I1或制造商規定且不小于I3 的電流恒流充電至制造商規定的充電終止電壓的1.1倍或115% SOC后,停止充電”,關于該條的具體說明,請參考編制說明。
8.1.3.4 試驗結束后,應在試驗環境溫度下觀察1 h。
8.1.4 短路
8.1.4.1 測試對象為鋰離子電池單體。
8.1.4.2 測試對象按7.1.1方法充電后。
8.1.4.3 將測試對象正、負極經外部短路10 min,外部線路電阻應小于5 mΩ。
8.1.4.4 試驗結束后,應在試驗環境溫度下觀察1 h。
8.1.5 加熱
8.1.5.1 測試對象為鋰離子電池單體。
8.1.5.2 測試對象按7.1.1方法充電后。
8.1.5.3 將測試對象放入溫度箱,溫度箱按照5 ℃/min的速率由室溫升至130 ℃±2 ℃,并保持此溫度30 min后停止加熱。
8.1.5.4 對于鎳氫電池,溫度箱按照5 ℃/min的速率由室溫升至85 ℃±2 ℃,并保持此溫度2 h后停止加熱。
8.1.5.5 試驗結束后,應在試驗環境溫度下觀察1 h。
8.1.6 溫度循環
8.1.6.1 測試對象為鋰離子電池單體。
8.1.6.2 測試對象按7.1.1方法充電后。
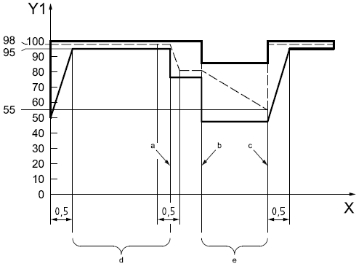
8.1.6.3 放入溫度箱中,溫度箱溫度按照表2和圖1進行調節,循環次數5次。
8.1.6.4 試驗結束后,應在試驗環境溫度下觀察1 h。
表2 溫度循環試驗一個循環的溫度和時間
溫度, ℃ | 時間增量, min | 累計時間, min | 溫度變化率, ℃/min |
25 | 0 | 0 | 0 |
-40 | 60 | 60 | 13/12 |
-40 | 90 | 150 | 0 |
25 | 60 | 210 | 13/12 |
85 | 90 | 300 | 2/3 |
85 | 110 | 410 | 0 |
25 | 70 | 480 | 6/7 |
圖1 溫度循環試驗示意圖
8.1.7 擠壓
8.1.7.1 測試對象為鋰離子電池單體。
8.1.7.2 測試對象按7.1.1方法充電后。
8.1.7.3 按下列條件進行試驗:
——擠壓方向:垂直于電池單體極板方向施壓,或與鋰離子電池單體在整車布局上最容易受到擠壓的方向相同;
——擠壓板形式:半徑75 mm的半圓柱體,半圓柱體的長度(L)大于被擠壓電池單體的尺寸(參考圖2所示);
——擠壓速度:不大于2 mm/s;
——擠壓程度:電壓達到0 V或變形量達到30%或擠壓力達到100 kN后停止擠壓;
——保持10 min。
8.1.7.4 試驗結束后,應在試驗環境溫度下觀察1 h。
圖2 鋰離子電池單體擠壓板示意圖
8.2 鋰離子電池包或系統安全性試驗方法
8.2.1 振動
8.2.1.1 鋰離子電池包或系統的振動試驗
8.2.1.1.1 測試對象為鋰離子電池包或系統。
8.2.1.1.2 試驗開始前,將測試對象的SOC狀態調至不低于制造商規定的正常SOC工作范圍的50%。
8.2.1.1.3 參考GB/T 2423.43的要求,將測試對象安裝在振動臺上。每個方向分別施加隨機和定頻振動載荷,加載順序為z軸隨機、z軸定頻、y軸隨機、y軸定頻、x軸隨機、x軸定頻(汽車行駛方向為x軸,另一垂直于行駛方向的水平方向為y軸)。測試過程參照GB/T 2423.56。
8.2.1.1.4 對于裝載在商用車上的電池包或系統,振動測試參數參照表3和圖3進行,對于測試對象存在多個安裝方向(x/ y/ z)時,取RMS大者。對于安裝在車輛頂部的鋰離子電池包或系統,按照制造商提供的不低于表3和圖3的振動測試參數開展振動測試。
8.2.1.1.5 對于裝載在乘用車上的電池包或系統,振動測試參數參照表4和圖4進行。
表3商用車鋰離子電池包或系統的振動測試條件
圖3商用車鋰離子電池包或系統隨機振動測試曲線
表4乘用車鋰離子電池包或系統的振動測試條件
圖4乘用車鋰離子電池包或系統隨機振動測試曲線
8.2.1.1.6 試驗過程中,監控測試對象內部最小監控單元的狀態,如電壓和溫度等。
8.2.1.1.7 試驗結束后,應在試驗環境溫度下觀察2 h。
8.2.1.2 鋰離子電池包或系統的電子裝置的振動試驗
8.2.1.2.1 測試對象為獨立安裝在整車上的電子電氣裝置,屬于鋰離子電池系統的一部分。
8.2.1.2.2 對于安裝在車輛懸架之上部位(車身)的測試對象,按照表5和圖5進行隨機振動試驗;對于其他安裝位置的測試對象,參照GB/T 28046.3 的相關試驗進行測試。
表5 PSD值和頻率
圖5 加速度PSD和頻率對應關系
8.2.1.2.3 參照GB/T 2423.56 執行隨機振動。測試對象的三個軸向,每個軸向進行8 h的振動測試。
8.2.1.2.4 振動過程中測試對象按照GB/T 28046.1-2011的要求,工作模式為3.2。
8.2.2 機械沖擊
8.2.2.1 測試對象為鋰離子電池包或系統。
8.2.2.2 對測試對象施加25 g、15 ms的半正弦沖擊波形,z軸方向沖擊3次。
8.2.2.3 相鄰兩次沖擊的間隔時間以兩次沖擊在試驗樣品上造成的響應不發生相互影響為準,一般應不小于5倍沖擊脈沖持續時間。
8.2.2.4 試驗結束后,應在試驗環境溫度下觀察2 h。
8.2.3 模擬碰撞
8.2.3.1 測試對象為鋰離子電池包或系統。
8.2.3.2 測試對象水平安裝在帶有支架的臺車上,根據測試對象的使用環境給臺車施加表6和圖6中規定的脈沖(汽車行駛方向為x軸,另一垂直于行駛方向的水平方向為y軸)。
8.2.3.3 試驗結束后,應在試驗環境溫度下觀察2 h。
表6 模擬碰撞試驗脈沖參數表
圖6 加速度脈沖示意圖
8.2.4 擠壓
8.2.4.1 測試對象為鋰離子電池包或系統。
8.2.4.2 按下列條件進行加壓:
——擠壓板形式:半徑75 mm的半圓柱體,半圓柱體的長度大于測試對象的高度,但不超過1 m。
——擠壓方向:x和y方向(汽車行駛方向為x軸,另一垂直于行駛方向的水平方向為y軸),為保護試驗操作安全,可分開在兩個測試對象上執行測試。
——擠壓程度:擠壓力達到100 kN或擠壓變形量達到擠壓方向的整體尺寸的30%時停止擠壓。
——保持10 min。
8.2.4.3
試驗結束后,應在試驗環境溫度下觀察1 h。
8.2.5 濕熱循環
8.2.5.1 測試對象為鋰離子電池包或系統。
8.2.5.2 參考GB/T 2423.4執行試驗Db、變量見圖7。其中最高溫度是80℃,循環5次。
8.2.5.3 試驗結束后,應在室溫下觀察2 h。
說明:
Y1——相對濕度,%; Y2——溫度,℃; X——時間,h;
a:升溫結束; b:降溫開始; c:推薦溫濕度值;
d:冷凝; e:干燥; f:一個循環周期;
圖7 溫濕度循環
8.2.6 浸水安全
8.2.6.1 測試對象為通過8.2.1.1振動試驗后的鋰離子電池包或系統。
8.2.6.2 測試對象按照整車連接方式連接好線束、接插件等零部件,選擇以下兩種方式中的一種進行試驗:
——方式一:測試對象以實車裝配方向置于3.5%NaCl溶液(質量分數)中2 h,水深要足以淹沒測試對象;
——方式二:測試對象參照GB/T 4208-2017中14.2.7所述方法和流程進行試驗。
8.2.6.3 將電池包取出水面,在試驗環境溫度下靜置觀察2 h。
8.2.7 熱穩定性
8.2.7.1 外部火燒
8.2.7.1.1 測試對象為鋰離子電池包或系統。
8.2.7.1.2 試驗環境溫度為0℃以上,風速不大于2.5 km/h。
8.2.7.1.3 測試中,盛放汽油的平盤尺寸超過測試對象水平尺寸20 cm,不超過50 cm。平盤高度不高于汽油表面8 cm。測試對象應居中放置。汽油液面與測試對象底部的距離設定為50 cm。平盤底層注入水。外部火燒示意圖如圖8所示。
8.2.7.1.4 第一階段:預熱。在離測試對象至少3 m遠的地方點燃汽油,經過60 s的預熱后,將油盤置于測試對象下方。如果油盤尺寸太大無法移動,可以采用移動測試對象和支架的方式。
8.2.7.1.5 第二階段:直接燃燒。測試對象直接暴露在火焰下70 s。
8.2.7.1.6 第三階段:間接燃燒。將耐火隔板蓋在油盤上。測試對象在該狀態下測試60 s?;蚪涬p方協商同意,繼續直接暴露在火焰中60 s。耐火隔板由標準耐火磚拼成,具體篩孔尺寸如下圖9所示,也可以用耐火材料參考此尺寸制作。
8.2.7.1.7 第四階段:離開火源。將油盤或者測試對象移開,在試驗環境溫度下觀察2 h或測試對象外表溫度降至45℃以下。
注:對鎳氫電池包或系統不做要求。
圖8 外部火燒示意圖
說明:耐火性:SK 30;成分:30-33% Al2O3;密度:1900-2000 kg/m3;有效孔面積:44.18%;開孔率:20-22%體積比;
圖9 耐火隔板的尺寸和技術數據
8.2.7.2 熱擴散
鋰離子電池包或系統制造商可選擇以下兩種方式之一進行鋰離子電池包或系統熱擴散分析或驗證:
——方式一:按照附錄C完成熱擴散乘員保護分析和驗證;
——方式二:參照附錄D完成熱擴散試驗。
注:對鎳氫電池包或系統不做要求。
8.2.8
溫度沖擊
8.2.8.1 測試對象為鋰離子電池包或系統。
8.2.8.2 鋰離子電池包或系統置于(-40±2)℃~(85±2)℃的交變溫度環境中,兩種極端溫度的轉換時間在30 min以內。測試對象在每個極端溫度環境中保持8 h,循環5次。
8.2.8.3 試驗結束后,應在室溫下觀察2 h。
8.2.9 鹽霧
8.2.9.1 測試對象為鋰離子電池包或系統。
8.2.9.2 參照GB/T 28046.4中5.5.2的測試方法,按GB/T 2423.17測試條件進行試驗。
8.2.9.3 鹽溶液采用氯化鈉(化學純、分析純)和蒸餾水或去離子水配制,其濃度為(5±1)%(質量分數)。(35±2)℃下測量pH值在6.5~7.2之間。
8.2.9.4 將測試對象放入鹽霧箱按圖10所示循環進行,一個循環持續24 h。在(35±2)℃下對測試對象噴霧8 h,然后靜置16 h,
在一個循環的第4 h和第5 h之間按照GB/T 28046.1-2011的要求,工作模式為3.2。
8.2.9.5 共進行6個循環。
8.2.9.6 對于完全放置在乘員艙、行李艙或貨艙的測試對象,可不進行鹽霧試驗。
說明:t—時間,h;a—工作模式為3.2;b—工作模式為1.2;
c—打開(噴鹽霧);d—關閉(停噴鹽霧)。
圖10 鹽霧試驗循環
8.2.10 高海拔
8.2.10.1 測試對象為鋰離子電池包或系統。
8.2.10.2 測試環境:海拔高度為4000 m或等同高度的氣壓條件(61.2 kPa),溫度為室溫。
8.2.10.3 在8.2.10.2的測試環境下擱置5 h。
8.2.10.4 對測試對象進行1 I1或制造商提供的最大恒流放電電流放電至截止條件。
8.2.10.5 試驗結束后,應在試驗環境溫度下觀察2 h。
8.2.11 過溫保護
8.2.11.1 本試驗的目的是驗證鋰離子電池系統運行期間內部過熱時,系統不需要借助外部保護措施的情況下可以實現過溫保護。
8.2.11.2 試驗對象為鋰離子電池系統。
8.2.11.3 在試驗開始時,影響試驗對象功能并與試驗結果相關的所有保護設備都應處于正常運行狀態,冷卻系統除外。
8.2.11.4 試驗對象應由外部充放電設備進行連續充電和放電,使電流在電池系統制造商規定的正常工作范圍內盡可能快地升高電池的溫度,直到試驗結束。
8.2.11.5 室內或溫度箱的溫度應從20±10℃或更高的溫度(如果電池系統制造商要求)開始逐漸升高,直到達到根據8.2.11.5.1或下文8.2.11.5.2(如適用)確定的溫度,然后保持在等于或高于此溫度,直到試驗結束。
8.2.11.5.1 當鋰離子電池系統具有內部過熱保護措施時,溫度應提高到電池系統制造商定義為這種保護措施的工作溫度閾值的溫度,以確保測試對象的溫度將按照8.2.11.4的規定升高。
8.2.11.5.2 如果鋰離子電池系統沒有配備任何具體的內部過熱防護措施,那么應將溫度升高到電池系統制造商規定的最高工作溫度。
8.2.11.6 當符合以下任一條件時,結束試驗:
a) 試驗對象自動終止或限制充電或放電。
b) 試驗對象發出終止或限制充電或放電的信號。
c) 試驗對象的溫度穩定,溫度變化在2 h內小于4℃。
注:為保護試驗操作安全,制造商應提供試驗上限參數,采用此上限參數強制終止的試驗判定為失敗。
8.2.11.7 試驗結束后,應在試驗環境溫度下觀察1 h。
8.2.12 過流保護
8.2.12.1 本試驗的目的是驗證直流外部充電過程中的過電流保護的性能,以防止鋰離子電池系統由于過大充電電流水平(按照電池系統制造商的規定)而引起嚴重事故。
8.2.12.2 試驗對象為可由外部直流電源供電的鋰離子電池系統。
8.2.12.3 試驗條件:
a) 試驗應在20±10℃的環境溫度下進行。
b) 按照電池系統制造商推薦的正常操作(如使用外部充電設備),調整試驗對象的SOC到正常工作范圍的中間部分,只要鋰離子電池系統能夠正常運行,可不需要精確的調整。
c) 與電池系統制造商協商確定可以施加的過電流(假設外部直流供電設備的故障)和最大電壓(在正常范圍內)。
8.2.12.4 按照電池系統制造商的資料進行過電流試驗:
a) 連接外部直流供電設備,改變或禁用充電控制通信,以允許通過與電池系統制造商協商確定的過電流水平。
b) 啟動外部直流供電設備,對鋰離子電池系統進行充電,以達到電池系統制造商規定的最高正常充電電流。然后,將電流在5s內從最高正常充電電流增加到第8.2.12.3(c)所述的過電流水平,并繼續進行充電。
8.2.12.5 當符合以下任一條件時,結束試驗:
a) 測試對象自動終止充電電流。
b) 測試對象發出終止充電電流的信號。
c) 測試對象的溫度穩定,溫度變化在2 h內小于4℃。
注:為保護試驗操作安全,制造商應提供試驗上限參數,采用此上限參數強制終止的試驗判定為失敗。
8.2.12.6 試驗結束后,應在試驗環境溫度下觀察1 h。
8.2.13 外部短路保護
8.2.13.1 本試驗的目的是驗證短路保護的性能,以防止鋰離子電池系統由于短路電流而引起嚴重事故。
8.2.13.2 試驗對象為鋰離子電池系統。
8.2.13.3 試驗條件:
a) 試驗應在20±10℃的環境溫度或更高溫度(如果電池系統制造商要求)下進行。
b) 在試驗開始時,影響試驗對象功能并與試驗結果相關的所有保護設備都應處于正常運行狀態。
8.2.13.4 在開始試驗時,用于充電和放電的相關主要接觸器都應閉合,來表示可行車模式以及允許外部充電的模式。如果這不能在單次試驗中完成,則應進行兩次或更多次試驗。
8.2.13.5 將試驗對象的正極端子和負極端子相互連接來產生短路。短路電阻不超過5 mΩ。
8.2.13.6 保持短路狀態,直至符合以下任一條件時,結束試驗:
a) 試驗對象的保護功能起作用,并終止短路電流。
b) 試驗對象外殼溫度穩定(溫度變化在2 h內小于4℃)后,繼續短路至少1 h。
8.2.13.7 試驗結束后,應在試驗環境溫度下觀察1 h。
8.2.14 過充電保護
8.2.14.1 本試驗的目的是驗證過充電保護的性能,以防止鋰離子電池系統由于過高的SOC而引起嚴重事故。
8.2.14.2 試驗對象為鋰離子電池系統。
8.2.14.3 試驗條件:
a) 試驗應在20±10℃的環境溫度或更高溫度(如果電池系統制造商要求)下進行。
b) 按照電池系統制造商推薦的正常操作(如使用外部充電器),調整試驗對象的SOC到正常工作范圍的中間部分。只要試驗對象能夠正常運行,可不需要精確的調整。
c) 在試驗開始時,影響測試對象功能并與試驗結果相關的所有保護設備都應處于正常運行狀態。用于充電的所有相關的主要接觸器都應閉合。
8.2.14.4 充電:
a) 外部充電設備應連接到試驗對象的主端子。外部充電設備的充電控制限制應禁用。
b) 試驗對象應由外部充電設備在電池系統制造商許可的用時最短的充電策略下進行充電。
8.2.14.5 充電應持續進行,直至符合以下任一條件時,結束試驗:
a) 試驗對象自動終止充電電流。
b) 試驗對象發出終止充電電流的信號。
c) 當試驗對象的過充電保護控制未起作用,或者如果沒有8.2.14.5 a)所述的功能。繼續充電,使得試驗對象溫度超過電池系統制造商定義的最高工作溫度10℃。
d) 當充電電流未終止且試驗對象溫度低于最高工作溫度10℃時,充電應持續12 h。
注:為保護試驗操作安全,制造商應提供試驗上限參數,采用此上限參數強制終止的試驗判定為失敗。
8.2.14.6 試驗結束后,應在試驗環境溫度下觀察1 h。
8.2.15 過放電保護
8.2.15.1 本試驗的目的是驗證過放電保護的性能,以防止鋰離子電池系統由于SOC過低而引起嚴重事故。
8.2.15.2 試驗對象為鋰離子電池系統。
8.2.15.3 試驗條件:
a) 試驗應在20±10℃的環境溫度或更高溫度(如果電池系統制造商要求)下進行。
b) 按照電池系統制造商推薦的正常操作(如使用外部充電器),調整試驗對象的SOC到較低水平,但必須在正常的工作范圍內。只要試驗對象能夠正常運行,可不需要精確的調整。
c) 在試驗開始時,影響試驗對象功能并與試驗結果相關的所有保護設備都應處于正常運行狀態。用于放電的所有相關的主要接觸器都應閉合。
8.2.15.4 放電:
a) 外部放電設備應連接到試驗對象的主端子。
b) 應與電池系統制造商協商,在規定的正常工作范圍內以穩定的電流進行放電。
8.2.15.5 放電應持續進行,直至符合以下任一條件時,結束試驗:
a) 試驗對象自動終止放電電流。
b) 試驗對象發出終止放電電流的信號。
c) 當試驗對象的自動中斷功能未起作用,或者沒有8.2.15.5 a)所述的功能,則應繼續放電,使得試驗對象放電到其額定電壓的25%為止。
d) 試驗對象的溫度穩定,溫度變化在2 h內小于4℃。
8.2.15.6 試驗結束后,應在試驗環境溫度下觀察1 h。
附 錄 A
(資料性附錄)
鋰離子電池包或系統的典型結構
A.1 鋰離子電池包
鋰離子電池包是能量存儲裝置,通常包括鋰離子電池單體、部件、高壓電路、過流保護裝置及與其他外部系統的接口(如冷卻、高壓、輔助低壓和通訊等)。圖A.1是一個電池包的典型結構。
圖A.1 鋰離子電池包典型結構
A.2 鋰離子電池系統
鋰離子電池系統是能量存儲裝置,包括電池單體或電池包、電路和電控單元(如電池控制單元,電流接觸器)。鋰離子電池系統的典型結構有兩種,分別是集成了電池控制單元的鋰離子電池系統和帶外置電池控制單元的電池系統,分別如圖A.2和圖A.3所示。
圖A.2 含集成電池控制單元的電池系統典型結構
圖A.3 外置集成電池控制單元的電池系統典型結構
附 錄 B
(規范性附錄)
鋰離子電池包或系統絕緣電阻測試方法
B.1 目的
明確鋰離子電池包或系統的絕緣電阻測量方法。
B.2 試驗條件
鋰離子電池包或系統均以制造商規定的滿電態進行,試驗環境溫度為25℃±5℃,濕度為15%~90%。
電壓檢測工具的內阻不小于10 MΩ。此外,若鋰離子電池包或系統有絕緣電阻監測功能,在測量時應將其關閉或者將絕緣電阻監測單元從B級電壓電路中斷開,以免影響測量值。
B.3 絕緣電阻測試方法:
測量方法可以從以下兩種方法中選取:
B.3.1 方法1:
a) 使鋰離子電池包或系統內的電力、電子開關激活以保證電池系統處于接通狀態;
b) 用相同的兩個電壓檢測工具同時測量鋰離子電池包或系統的兩個端子和電平臺之間的電壓,如圖B.1中所示。較高的一個為U1,較低的一個為U1`;
注:鋰離子電池包或系統的電平臺可以是其與整車電平臺連接的可導電外殼。
c) 添加一個已知電阻R0,阻值推薦1 MΩ。如圖B.2中所示并聯在鋰離子電池包或系統的U1側端子與電平臺之間。再用B.3.1 b)中的兩個電壓檢測工具同時測量鋰離子電池包或系統的兩個端子和電平臺之間的電壓,測量值為U2和U2`;
d) 計算絕緣電阻Ri,方法如下:
Ri可以使用R0和四個電壓值U1、U1`、U2和U2`以及電壓檢測設備內阻r,代入式(1)或(2)來計算:
圖B.1 絕緣電阻測量步驟
圖B.2 絕緣電阻測量步驟
B.3.2
方法2:
a) 使鋰離子電池包或系統處于接通的狀態;
b) 使用絕緣電阻儀分別測量電池包正極和外殼,以及負極和外殼之間的絕緣電阻。
——測量電壓:使用的測量電壓應為鋰離子電池包標稱電壓的1.5倍或500 V(DC)的電壓,兩者取較高值;
——測量時間:施加的電壓應該足夠長,以便獲得穩定的讀數。
根據標準計算方法計算得到的絕緣電阻值除以鋰離子電池系統的標稱電壓U,所得到值應大于100 ?/V。
附 錄 C
(規范性附錄)
熱擴散乘員保護分析與驗證報告
C.1
鋰離子電池包或系統在由于單個電池熱失控引起熱擴散、進而導致乘員艙發生危險之前5 min,應提供一個預先警告信號(服務于整車熱事故報警),提醒乘員疏散。如果熱擴散不會產生導致車輛乘員危險的情況,則認為該要求得到滿足。
C.2 鋰離子電池包或系統熱事故報警信號說明
C.2.1
觸發警告的熱事件參數(例如溫度、溫升速率、SOC、電壓下降、電流等)和相關閾值水平;
C.2.2 警告信號說明:描述傳感器以及在發生熱事件時鋰離子電池包或系統控制說明。
C.3 在單個電池熱失控引起熱擴散的情況下,在鋰離子電池單體、電池包或系統或車輛中應具有保護乘員的功能或特性。制造商應提供以下說明鋰離子電池包或系統安全性文件,包含以下部分:
C.3.1
風險降低分析:使用適當的行業標準方法記錄單個電池熱失控導致熱擴散所引起的對車輛乘員的風險以及降低風險所采用的緩解功能或特征(例如:IEC 61508、MIL-STD 882E、ISO 26262、AIAG DFMEA、SAE J2929中的故障分析或類似的方法)。
C.3.2 相關物理系統和組件的系統圖。相關系統和組件是指有助于保護乘員免受由單個電池熱失控觸發的熱擴散所引起的危害影響的系統和組件。
C.3.3 表示相關系統和組件的功能操作、確認所有風險緩解功能或特性的圖表。
C.3.4 對于每個確定的風險緩解功能或特征的說明包括以下部分:
C.3.4.1 對其操作策略的描述;
C.3.4.2 實現功能的物理系統或組件的標識;
C.3.4.3 說明風險緩解功能技術文書:分析或模擬驗證的方法和結果數據;
C.3.4.4 說明風險緩解功能技術文書:試驗驗證的方法和結果數據。
a) 試驗時間、地點及產品技術參數;
b) 試驗程序:包括試驗方法、試驗對象、觸發對象、監控點布置方案、熱失控觸發判定條件以及對試驗對象所做的改動清單等,試驗方法可參考附錄D或由制造商提供的其他方法;
c) 試驗結果:包括系統預警和試驗關鍵事件(熱失控觸發開啟、熱失控觸發停止、外部煙、火、爆炸)等的試驗照片、試驗數據和時間等。
C.3.4.5 熱擴散乘員保護分析報告需經第三方檢測機構核準。
附 錄 D
(資料性附錄)
熱擴散試驗
D.1 測試對象
測試對象為整車或鋰離子電池包或系統。
D.2 試驗條件
試驗應在以下條件進行:
a) 本試驗應在溫度為0℃以上,相對濕度為15%~90%,大氣壓力為86~106 kPa的環境中進行。
b) 試驗開始前,測試對象的SOC應調至大于制造商規定的正常SOC工作范圍的90%或者95%。
c) 試驗開始前,所有的試驗裝置應都必須正常運行。
d) 試驗應盡可能少地對測試樣品進行改動,制造商需提交所做改動的清單。
e) 試驗應在室內環境或者風速不大于2.5 km/h的環境下進行。
注:熱擴散試驗可能需要在測試開始前對鋰離子電池包或系統進行一定程度的改動,導致可能無法進行充電,需在試驗開始前確認測試對象的SOC滿足要求。
D.3 試驗方法
D.3.1 推薦加熱和針刺這兩種方法作為鋰離子電池系統熱擴散試驗的候選方法,制造商可以選擇其中一種方法,也可自行選擇其他方法來觸發熱失控。
D.3.2
熱失控觸發對象:試驗對象中的鋰離子電池單體。選擇鋰離子電池包內靠近中心位置,或者被其他鋰離子電池單體包圍且很難產生熱輻射的鋰離子電池單體。
D.3.3
針刺觸發熱失控:刺針材料:鋼;刺針直徑:3 mm~8 mm;針尖形狀:圓錐形,角度為20°~60°;針刺速度:10 mm/s ~100 mm/s;針刺位置及方向:選擇能觸發鋰離子電池單體發生熱失控的位置和方向(例如,垂直于極片的方向)。
D.3.4
加熱觸發熱失控:使用平面狀或者棒狀加熱裝置,并且其表面應覆蓋陶瓷、金屬或絕緣層。對于尺寸與鋰離子電池單體相同的塊狀加熱裝置,可用該加熱裝置代替其中一個鋰離子電池單體,與觸發對象的表面直接接觸;對于薄膜加熱裝置,則應將其始終附著在觸發對象的表面;加熱裝置的加熱面積都應不大于鋰離子電池單體的表面積;將加熱裝置的加熱面與電池單體表面直接接觸,加熱裝置的位置應與D.3.5中規定的溫度傳感器的位置相對應;安裝完成后,立即啟動加熱裝置,以加熱裝置的最大功率對觸發對象進行加熱;加熱裝置的功率要求參見表D.1;當發生熱失控或者D.3.5定義的監測點溫度達到300℃時,停止觸發。
表D.1 加熱裝置功率選擇
D.3.5 電壓及溫度的監測
監測電壓時,應不改動原始的電路。監測溫度定義為溫度A(測試過程中觸發對象的最高表面溫度)。溫度數據的采樣間隔應小于1 s,準確度要求為±2℃,溫度傳感器尖端的直徑應小于1 mm。
針刺觸發時,溫度傳感器的位置應盡可能接近短路點。
圖D.1 針刺觸發時溫度傳感器的布置位置示意圖
加熱觸發時,溫度傳感器布置在遠離熱傳導的一側,即安裝在加熱裝置的對側(如圖D.2)。
圖 D.2 加熱觸發時溫度傳感器的布置位置示意圖
D.3.6 判定發生熱失控的條件
a) 觸發對象產生電壓降,且下降值超過初始電壓的25%;
b) 監測點溫度達到制造商規定的最高工作溫度;
c) 監測點的溫升速率dT/dt≥1℃/s,且持續3 s以上。
當a)和c)或者b)和c)發生時,判定發生熱失控。如果未發生熱失控,為了確保熱擴散不會導致車輛乘員危險,需證明采用D.3.1推薦的加熱和針刺方法,均不會發生熱失控。
D.3.7 熱擴散時間記錄
如果發生熱失控,記錄熱事故報警信號發出后試驗對象外部發生起火或爆炸的時間(t1),
如果采用整車進行試驗,還應記錄煙氣進入乘客艙的時間(t2),上述信息應在不拆卸測試樣品的前提下通過目視進行判斷,且比較t1和t2 是否大于等于5 min并記錄比較結果。
D.4 熱擴散試驗報告
a) 試驗時間、地點及產品技術參數;
b) 試驗程序:包括試驗方法、試驗對象、觸發對象、監控點布置方案、熱失控觸發判定條件以及對試驗對象所做的改動清單等;
c) 試驗結果:包括系統預警和試驗關鍵事件(熱失控觸發開啟、熱失控觸發停止、外部煙、火、爆炸)等的試驗照片、試驗數據和時間等。